Replacement Parts For A8845a

Replacement Parts For A8845a | <p>Replacement Parts For A8845a</p>
Replacement Parts For A8845a | <p>Replacement Parts For A8845a</p>
Order Replacement Parts
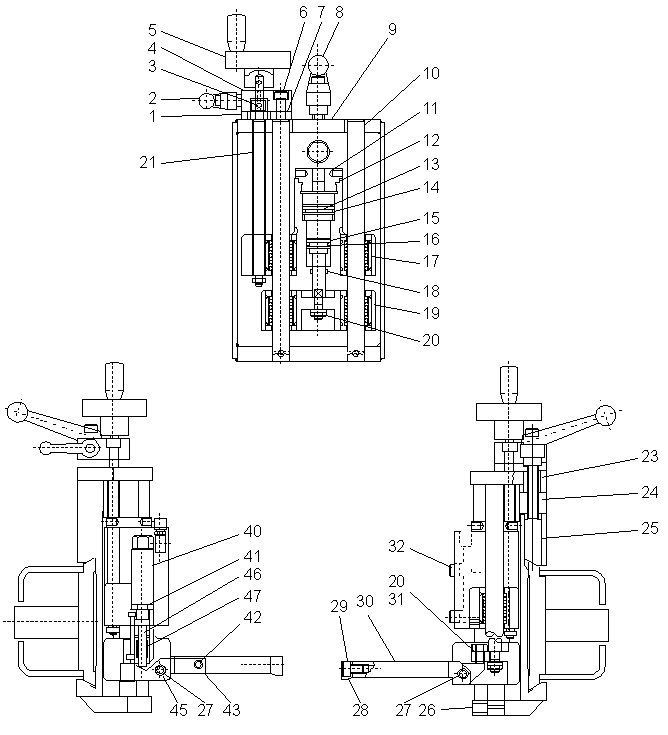
Illustration # Part # Product Description Qty
1 A8846YY
Spherical Support Bearing

Amada # 36003691 / NB-6

Availability:
17 In stock
$34.90
2 A0809
Clamp Lever 6MM

kr-6x20 / Clamp Lever 6MM

Availability:
20+ In stock
$26.00
3 A8846zz1
Collar

4128801A / Collar Feed Screw

Availability:
20+ In stock
$5.90
4 A8846gg
Work Stopper Assembly-Bearing Retainer

Amada # 36181532 / 4128798A

Availability:
20+ In stock
$89.00
5 A8835A
Handwheel & Handle

Amada # 36004353 / 4128802


Amada # 36181825

Availability:
20+ In stock
$69.00
6 A0834a
Screw M6 X 25 Pkg of 10

Screw SHCS M6 X 25 pkg 10

Availability:
13 In stock
$1.90
7 A8846ff
Work Stopper Assembly-Bearing Case

Amada # 36181533 / 4128799

Availability:
20+ In stock
$24.00
8 A0810
Clamp Lever 8MM

kr-8x40 / Clamp Lever 8MM / 36181832

Availability:
20+ In stock
$26.00
9 A8846aa
Work Stopper Assembly-Body

4128797D / Work Stopper Assembly Body

Availability:
20+ In stock
$189.00
10 A8846hh
Guide Rod

Amada # 36181549 / 7950004

Availability:
20+ In stock
$22.00
11 A8846mm
Cap

Amada # 36181556 / 4128809

Availability:
11 In stock
$29.00
12 A9228a
O-Ring S-28

O-Ring S-28

Availability:
20+ In stock
$0.99
13 A8846nn
Piston

Amada # 36181554 / 4128808

Availability:
20+ In stock
$49.00
14 A9226
O-Ring P-21

O-Ring P-21

Availability:
20+ In stock
$0.75
15 A8846oo
Piston

Amada # 36181553 / 4128807 / 36181840

Availability:
20+ In stock
$49.00
16 A9221
O-Ring P-14

O-Ring P-14

Availability:
20+ In stock
$0.75
17 A8846pp
Linear Bearing

LM13UU / Linear Bearing

Availability:
20+ In stock
$19.90
18 A9209
O-Ring P-10

O-Ring P-10

Availability:
20+ In stock
$0.75
19 A8846bb
Work Stopper Assembly-Holder

4128810C / Work Stopper Holder

Availability:
20+ In stock
$159.00
20 A8846xx
Hex Nut

M6 TYPE 3 / Hex Nut

Availability:
20+ In stock
$0.07
21 A8841
Feedscrew

Amada # 36181814 / 4128800a / 36004367

Availability:
20+ In stock
$25.00
23 A8846LL
Collar

Amada # 36181541 / 4128805

Availability:
20+ In stock
$2.90
24 A8846kk
Lock Nut

Amada # 36181539 / 4128803

Availability:
20+ In stock
$32.90
25 A8846jj
Lock Bar

Amada # 36181540 / 4128804A

Availability:
20+ In stock
$9.90
26 A0831c
Screw M6 X 10 Pkg of 10

Set Screw cup M6 X 10 Pkg 10

Availability:
20+ In stock
$1.70
27 A8846ii
Hinge Pin

Amada # 36181515 / 4129243

Availability:
20+ In stock
$6.90
28 A8827
Finger Stop Pads

Amada # 4128812

Availability:
20+ In stock
$32.00
29 A0839c
Socket Cap Screw-M6 x 10 Pkg of 10

Screw SHCS M6 x 10 Pkg 10

Availability:
14 In stock
$1.80
30 A8846dd
Work Stopper Assembly-Main Flip Arm

Amada # 36172601 / 4128811 / Main Flip Arm

Availability:
16 In stock
$99.00
31 A0831d
SET Screw M6 X 16 10Pcs

Flat Set Screw M6 X 16 10Pcs.

Availability:
18 In stock
$1.90
32 A8846ww
Plug

1/8" / Plug 44605K231

Availability:
20+ In stock
$0.99
40 A4087
Cylinder-Flip Up Actuator

Amada # 36181545 / 795002

Availability:
20+ In stock
$95.00
42 A8846rr
Dowel Pin

6 X 36 / Dowel Pin

Availability:
20+ In stock
$1.00
43 A8846ee
Work Stopper Assembly-Flip up Lever

4128819B / Flip Arm Lever

Availability:
20+ In stock
$29.00
45 A8846ss
Snap Ring 8M

Amada # 57131020 / STW-8

Availability:
20+ In stock
$0.19
46 A8846qq
Linear Ball Bearing

Amada # 36181521 / LM6UU

Availability:
20+ In stock
$19.90
47 A8846zz
Flip up Rod

Flip up Rod

Availability:
20+ In stock
$34.00
Request Quote

Ask a Question?

Description / Replacement Parts For A8845a

Replacement Parts For A8845a

Write Your Own Review
You're reviewing: Replacement Parts For A8845a
loader
Loading...

You submitted your review for moderation.

Need a Quote?